Qingdao Xin Aneng Conveying Machinery Co., Ltd.
Qingdao Xin Aneng Conveying Machinery Co., Ltd.
Novice

Določitev čistejšega protokola

2025-03-19 0 Pusti mi sporočilo

1.1 Določitev čistejšega programa

Potegnite lepilni trak premogovega prahu, na katerega se je držal. Kot vsi vemo, surovi premog, ki se prevaža z rudarskega obraza, vsebuje različne stopnje vlage, in enostavno je lepljivo vezati fino prašno premog na površino traku. Če se pljučni premog, vezan na trak, ne očisti, bo prašno premog v prazen odsek (tj. Spodnji pas) pripeljan v koš za shranjevanje pasu in valj pod celotnim spodnjim pasom (tj.

Glavni rezultati so:

V koš za shranjevanje jermena se nabira velika količina praznovanega premoga, ki zakopa podporni valj, zaradi česar se valj ne ukvarja in vpliva na življenjsko dobo servisnega pasu;

2) odstopanje operacije jermena bo povzročilo, da je rob za obešanje ali trganje;

3) povečati tekočo odpornost traku in povečati stroške;

4) Količina očiščenega premoga se poveča, kar povečuje delovno intenzivnost delavcev;

Pri uporabi čistil za premog je treba rešiti tri težave:

1) učinek čiščenja mora biti dober;

2) Čistilo je enostavno zamenjati, vzdrževalna obremenitev pa mora biti majhna;

3) Za očiščeni prahlizirani premog mora biti izhod.

1. Analiza trenutne situacije

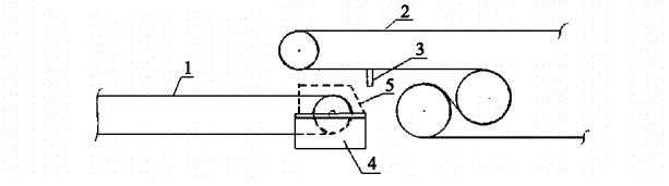
1) Struktura in položaj tradicionalnega čistilca premoga


Kot je razvidno iz slike 2-1, je čistilo za premog običajno nameščeno na zadnji strani bobna. Čistilec premoga je, da pritrdite kos traku na sredini dveh drobtin, da tvori okvir za čiščenje premoga, uporabite strukturo zatiča in ročice, da se trak za čiščenje premoga za čiščenje prilepi na votlo trak, uporabite napetost vzmeti, da se čistilec premoga in votlega jermena po kompenzaciji s pritiskom obrabi, in lahko povzroči, da se premogov pretegne.

2) Napake tradicionalnih čistil za premog

a. Čistilo za premog je sestavljeno iz čistilnega traku, in ker je spodnji pas votel pas, pas plava pod pritiskom čistilca premoga, tlak čistilca premoga ni dovolj, učinek čiščenja pa slab.

6. Čiščenje premoga je na zadnji strani bobna za razkladanje in je na splošno več kot 1 m od raztovarjajočega bobna v skladu z namestitvenimi pogoji, premog pod čiščenjem pa mora predelati majhen premog, da se premog drsi na naslednji pas, včasih pa tudi zato, ker višina podzemnega prostora ni dovolj, premoga, ki se pometa, ni mogoče zliti.

c. Nadomestna delovna obremenitev čistila za premog je velika, zaradi česar je čistilec premoga enostavno poškodovan, nadomestni cikel pa je tudi zelo kratek.

3) Tipičen prevozni spoj za prevoz pasu

Tipičen prevoz pasu je prikazan na sliki 2-2.

Kot je razvidno iz slike 2-2, premog pod čistilom premoga ne more zdrsniti neposredno na pasu, v skladu z določbami "predpisov o varnosti premogovnikov", pa je treba 35 tekaških delov celotne opreme opremljeno z zaščitno napravo (tj. Ščit), zato se po tem, ko je pasu opremljen s ščitnikom, zdrsnil s pasovi, ki jih je spustil, zdrsnil spuščanje spuščanja.

Povezane novice
Pusti mi sporočilo
X
Piškotke uporabljamo, da vam ponudimo boljšo izkušnjo brskanja, analiziramo promet na spletnem mestu in prilagodimo vsebino. Z uporabo te strani se strinjate z našo uporabo piškotkov. Politika zasebnosti
Zavrni Sprejmi